转载:https://news.zol.com.cn/881/8811244.html
2024-07-02 08:40:14·[??中关村在线 原创??]·作者:两三杯可乐
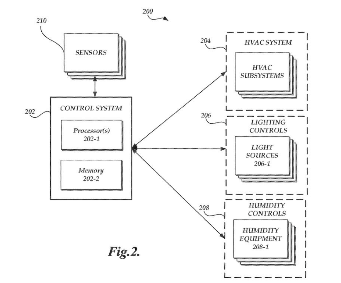
特斯拉近日公布了一项名为“Robotaxi”的自动驾驶出租车的专利,这项专利主要涉及汽车“自清洁”技术。该技术能够利用传感器检测汽车卫生状况,并根据需要进行消毒和通风处理。
具体来说,车内安装的传感器可以监测到病原体、用户打喷嚏或咳嗽等行为,并通过空调气流将飞沫排出车辆外。当车辆无法充分清洁自身时,系统会自动将其开往专用清洁设施进行彻底的清洗。
这项技术对于保障乘车安全和提升乘车体验具有重要意义。同时,随着人们越来越关注健康与安全问题,未来我们有理由相信类似的“自清洁”技术将在各个领域得到广泛应用。


相关论坛
相关广告

拨打电话